分布式地震数据采集器的高精度时间同步系统研制

Design on high-precision time-synchronization system for distributed seismic data acquisition

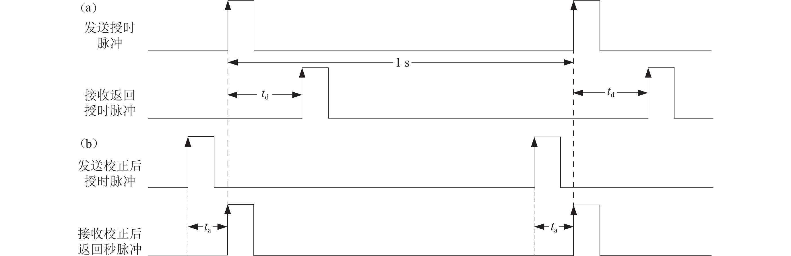
  • 摘要: 为了解决分布式地震数据采集系统的同步授时问题,本文研制了一套高精度时间同步授时系统。该系统在通信过程中周期性地发送同步授时秒脉冲,并通过授时秒脉冲传输实现实时传输延时测量及时间校正,从而实现多通道高精度同步授时。基于此设计原理,采用高速硬件可编程器件研制了同步授时系统,并通过测试证实该系统在2 km通信距离时同步授时精度优于200 ns,表明该同步授时系统稳定、可靠并具有一定实用性。

     

    Abstract: In order to solve the time-synchronization problem of distributed seismic data acquisition system, we designed a new high-precision time-synchronization technical system in this paper. In this system, a synchronous timing pulse was transmitted periodically during data communication. Through transmitting time measurement and its transmission delay time correction of synchronous timing pulse, high-precision multi-channel time synchronization was achieved in this technical system. And a time-synchronization technical system designed with high-speed programed chips was used to carry out the time-synchronous test. The result proves that the synchronous timing accuracy of time-synchronous system is better than 200 ns when the optical fiber is 2 km, which indicates that the time-synchronization system is stable and practical.

     

/

返回文章
返回